Планирование обновления радара
Планирование обновления
- Виды обновления
- Добавление радара к существующему МФД
- Выбор места и креплений
- Планирование установки
- Обновления программного обеспечения, когда и почему

Независимо от того, расширяете ли вы возможности своей системы, заменяете старое оборудование или хотите улучшить объем и точность доступной вам информации, планирование обновления имеет большое значение.
Крейг Макмиллан и Лори Бейтс, базирующиеся в Окленде, Новая Зеландия, имеют богатый опыт работы с продуктами Navico®. Крейг — один из экспертов по продуктам Navico, а Лори — директор по продуктам в Simrad Yachting.
Здесь они предлагают несколько ценных советов по обновлению вашего радара.
Здесь они предлагают несколько ценных советов по обновлению вашего радара
«Обычно люди выбирают два основных пути, когда рассматривают возможность обновления», — объясняет Лори. «Первый касается тех, у кого на лодке уже есть МФД (Многофункциональный дисплей) и навигационная сеть. Так у них уже есть все необходимые им данные от источников курса, вот только радара у них нет.
«Для этих людей, если они найдут хорошее место для установки с достаточно прочной точкой крепления, это просто вопрос крепления радара либо непосредственно к поверхности, либо к нескольким креплениям послепродажного обслуживания, которые поднимают рычаг радара вверх. поверхности. Мы обычно используем крепления от Scanstrut или Seaview.
«Тогда это всего лишь одна кабельная трасса. Наш кабель раздваивается на нижнем конце, поэтому у вас есть источник питания, а затем Ethernet для подключения к сети MFD.

«Некоторые люди спрашивают о беспроводном радаре, и я считаю, что в этом нет реального преимущества, поскольку вам все равно придется прокладывать кабель для питания устройства.
«Другой распространенный способ модернизации — это те, у кого есть старый радар, который необходимо заменить, или, может быть, тот, который просто больше не работает. Поскольку при разработке нашей продукции мы уделяем большое внимание рынку модернизации, модернизация обычно довольно проста.
«Большим преимуществом блока Simrad® является то, что занимаемая площадь наших последних радаров такая же, как и у радаров предыдущих поколений, поэтому эти четыре болта и их отверстия имеют одинаковый размер и находятся точно в том же месте. Это делает обновление особенно простым.
«Мы также стараемся обеспечить возможность повторного использования старого кабеля, что очень помогает избежать необходимости повторно прокладывать кабели.
«Теперь, если у вас уже есть кабель, проходящий в сложном месте, и вы хотите модернизировать радар 3G или 4G до Halo, который использует другие разъемы, мы предлагаем небольшой адаптер. Это означает, что вы можете повторно использовать имеющийся трос, который уже проложен через жесткий верх или конструкцию лодки».
Ethernet-соединение
Сканер можно подключить либо непосредственно к разъему Ethernet RJ45, либо к 5-контактному разъему Ethernet через прилагаемый адаптер Ethernet.
A: Дисплей или коммутатор Ethernet с 5-контактным разъемом Ethernet.
B: Блок дисплея или сетевой коммутатор с разъемом Ethernet RJ45.
C: Разъем кабеля Ethernet (RJ45)
D: Кабель адаптера Ethernet (RJ45 на 5-контактный разъем)
E: Провода питания и управления питанием
F: Соединительный кабель к сканеру

Кабель адаптера Ethernet
Кабель адаптера Ethernet используется для подключения сканера к 5-контактному разъему Ethernet. Используйте прилагаемый водонепроницаемый кабельный чехол, чтобы герметизировать соединение между соединительным кабелем и кабелем адаптера Ethernet.
1: Водонепроницаемый кабельный чехол
Наденьте детали чехла на соединительный кабель.
2: Соедините кабели вместе, сначала вставив разъем RJ45, затем поверните и зафиксируйте кабельный наконечник. (A) к кабелю адаптера (B).
3: Затяните пыльник.

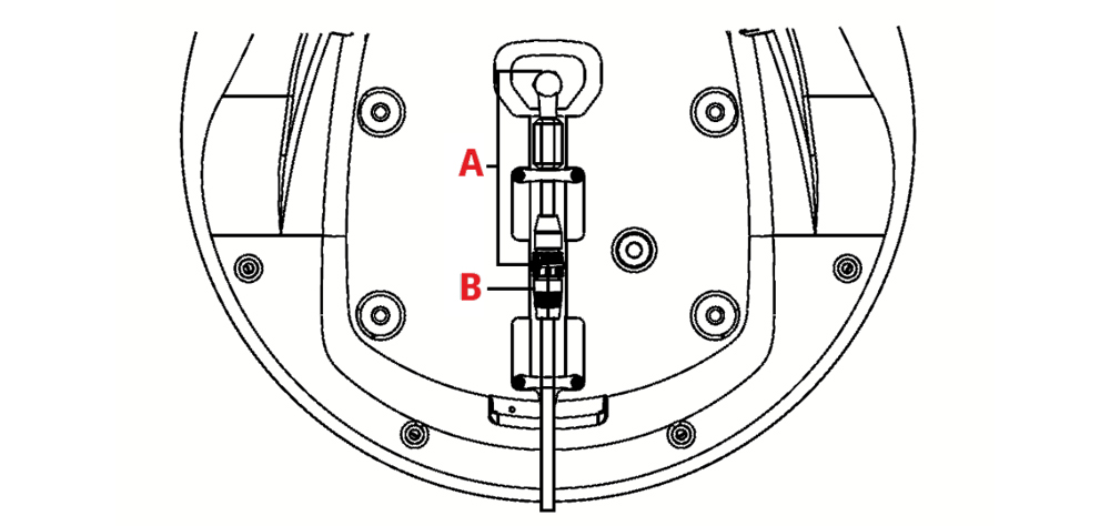
Ответ: Кабель-адаптер широкополосного радара 3G/4G к радару Halo24.
B: Существующий установленный соединительный кабель широкополосного радара 3G/4G.
В обоих случаях перед покупкой и установкой устройства необходимо выполнить некоторые фундаментальные проверки
1: Проверьте бортовой источник питания и электрическую распределительную панель, чтобы убедиться, что источник питания может обеспечить достаточный ток для нового радара, не вызывая падения напряжения.
2. Проверьте место установки антенны, чтобы убедиться, что оно соответствует требованиям.
3: Проверьте существующее расположение отверстий для болтов и их диаметры. Наши схемы болтов Halodome сейчас соответствуют многим старым системам, поэтому новые отверстия для болтов могут не потребоваться, что является большим преимуществом.
4. Проверьте толщину монтажной пластины и убедитесь, что прилагаемые болты имеют достаточную длину и не доходят до конца.
5: Если вы переходите с 3G/4G, мы можем предоставить переходной кабель, чтобы можно было использовать тот же соединительный кабель. Существующую интерфейсную коробку RI10 Radar от 3G/4G можно оставить на месте, если прокладка кабеля затруднена, хотя мы рекомендуем, если это возможно, удалить ее.
6: Проверьте совместимость бортовых интерфейсных систем. Если установлены компоненты NMEA 2000®, они обычно совместимы. Однако если система более старая и использует интерфейс NMEA0183, скорее всего, потребуются некоторые обновления датчиков GPS и компаса, чтобы можно было использовать такие функции, как VelocityTrack™ и наложение радиолокационной карты.
Помимо улучшения аппаратного обеспечения, существует также проблема обновления программного обеспечения.
«Для наших МФУ обычно выходит около трех обновлений программного обеспечения в год», — говорит Лори. «Радар зачастую меньше, около одного или двух обновлений в год.
«Причина, по которой мы можем выпустить обновление, заключается в том, что мы обнаруживаем ошибку или получаем отчеты с мест о проблемах с производительностью — это будет для нас очень важным приоритетом.
«Мы также можем выпускать обновления программного обеспечения и функций для обеспечения совместимости с новым оборудованием и другими моделями.
«Как правило, радары обновляются через МФД с использованием карты micro SD, которую вы использовали для загрузки обновления из Интернета. В качестве альтернативы, если у вас на лодке есть сеть MFD, подключенная к Интернету, вы можете загрузить обновления напрямую, а затем загрузить их на радар».
Но хотя обновление, как правило, является простым занятием, Крейг предлагает дополнительные дельные советы, основанные на том, что иногда легко забывают.
«Чтобы максимально эффективно использовать любой радар, вам нужен действительно хороший датчик курса, особенно если вы используете более сложные функции, такие как наложение карт и отслеживание скорости», — говорит он. «Поэтому действительно хороший компас на вашем NMEA 2000 необходим для получения максимальной отдачи от любого обновления. И это принесет пользу не только радару: автопилот, считывание истинной скорости и направления ветра, а также многие другие функции будут работать намного лучше при точном курсе».
